Column Strengthening
Structural strengthening - column strengthening
Wrap the column with unidirectional carbon fiber fabric, steel jacketing of column , section-enlarging reinforcing method for column strengthening
It is suitable for reinforcement of reinforced concrete columns which need to improve the shear capacity and the overall ductility of members.

Outer surface of component cross section
Carbon fiber reinforced polymer(CFRP) fabric
Design and construction requirements of column strengthening with carbon fiber fabric
A. For reinforced concrete structural members, the strength grade of concrete measured in situ shall not be lower than C15, and the tensile bond strength of concrete surface shall not be lower than 1.5 MPa.
B. Carbon fiber reinforced polymer(CFRP) composite materials pasted on the surface of concrete members shall not be directly exposed to sunlight or harmful media, and their surfaces shall be protected.
Detail analysis of column strengthening with carbon fiber fabric
A. The number of layers of fiber fabrics with circumferential restraint shall not be less than 2 layers for circular section, but not less than 3 layers for square and rectangular section columns.
B. The overlap width between the upper and lower layers of the circumferential girdle should not be less than 50 mm, the extension length of the circumferential cut-off point of the fiber fabric should not be less than 200 mm, and the overlap positions of the strips should be staggered from each other.
C. The bond quality between fiber fabric and concrete can be checked by tapping lightly with a hammer or pressing the surface of carbon fiber fabric by hand. The total effective bond area should not be less than 95%.

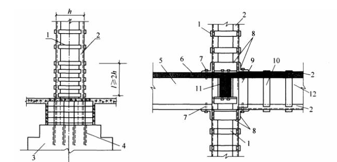
The method of steel jacketing reinforcement is better for the problem of insufficient longitudinal reinforcement of concrete columns, which can be divided into two forms: external bonded steel plate reinforcement and non-bonded enclosed section steel reinforcement according to its connection with the original structure; both methods can greatly improve the bearing capacity and seismic resistance of reinforced concrete columns.


Design and construction requirements of column strengthening with steel jacketing
A and reinforcing angle steel shall not be less than L75 * 5.
B. When the strengthened original column is seriously damaged and unsuitable for further bearing, the effect of the column can be neglected, and all the loads are borne by the steel frame.
C. Both ends of the wrapped angle steel shall be securely connected and anchored. The lower end of the angle steel shall be anchored to the foundation. The middle end shall pass through the floor of each floor and the upper end shall extend to the bottom of the upper floor or the roof of the reinforced floor.
D. When the column is strengthened by outer-wrapped section steel, the edges and corners of the cross-section of the original member should be ground into rounded corners with radius r greater than or equal to 7 mm. The injection of externally bonded steel should be carried out after the welding of the steel frame.

Detail analysis of column strengthening with steel jacketing
A. For the reinforcement of the bottom column, the end of the reinforcement angle steel must be anchored to the top of the original structure foundation. For the reinforcement angle steel embedded in the foundation soil, concrete enclosure should be poured to prevent rust.
B. When reinforced concrete columns are strengthened with steel-encased profiles, the profiled steel surface shall be protected by 25 mm thick high-strength cement mortar or other anti-corrosion and fire-resistant materials.
The method of enlarging section reinforcement has a good effect on the problem of "axial compression ratio" or "reinforcement" exceeding the limit. It is a method of enlarging the section area of concrete structure or structure to increase its bearing capacity and meet the normal use. It can be widely used to reinforce beams, slabs, columns and other components of concrete structures and general structures. The advantages are that the stiffness, bearing capacity and deformation capacity of the components can be increased at the same time, and the reliability of the connections can also be strengthened. The disadvantages are heavy wet work, long maintenance period, occupying more building space and so on.

New longitudinal reinforced bar
New section
Section of the original column
New stirrups
Design and construction requirements of section-enlarging reinforcing method for column strengthening
A, the strength grade of component concrete should not be lower than C13.
B. Thickness requirements of new concrete columns: when using cast-in-situ concrete, self-compacting concrete or grouting materials, people should not be less than 60 mm; when shotcreting, should not be less than 50 mm.
C. The concrete surface of the original member should be treated when the reinforcement method with enlarged section is adopted, and the design documents should put forward requirements for the treatment method and quality of the section. In general, in addition to the concrete surface should be scoured, but also should be taken to brush the structure interface adhesive, planting shear pins or adding shear keys and other measures.
The diameters of the reinforced bars of D and column should not be less than 14 mm, the diameters of anchored stirrups should not be less than 8 mm, the diameters of U-shaped stirrups should be the same as the diameters of the original stirrups, and the diameters of distributed stirrups should not be less than 6 mm.

Detail analysis of section-enlarging reinforcing method for column strengthening
A. When strengthening concrete columns with integrally enlarged cross-section on the four sides, it is necessary to ensure that the new ring stirrups are closed in addition to the implanted tie bars.
B. The new stirrups can be welded to the original stirrups to form a closed loop when the reinforced concrete columns are strengthened by enlarging the section on one side, two sides or three sides.